电话:18233792093



附开度软密封闸阀是一种在管道系统中广泛应用的阀门,它结合了软密封闸阀的优良密封性能和开度指示功能,能有效控制流体的通断和流量。以下是对它的详细介绍:
产品概述
附开度指示软密封闸阀是传统闸阀的更新换代产品,克服了一般普通闸阀普遍存在的渗水和生锈、弹性疲乏、橡胶老化等缺陷。它常应用于自动喷水消防管路系统、临界控供水管路等,可远地指示阀门开度。
结构特点
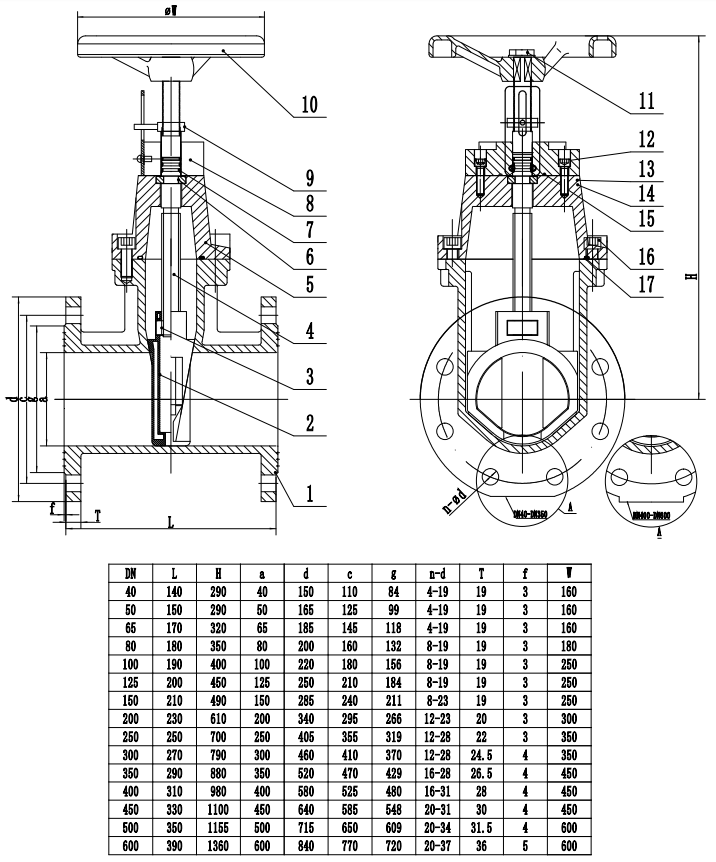
平底式阀座:阀座底部无凹槽且为平底式结构,与阀体通径一致,避免杂物淤积,使流体畅通无阻。
软密封闸板:闸板表面全包覆橡胶,橡胶与骨芯架结合牢固,不易脱落,弹性优良,能通过弹性变形实现良好的密封效果。
多道密封结构:阀杆与阀盖之间的上密封采用三道 O 型橡胶密封圈,密封可靠,且使阀杆转动轻便,使用寿命长。
精密铸造阀体:阀体采用精密铸造工艺,精确的几何尺寸使得阀体内部无需任何精加工即可确保阀门的密封性,且与阀板精确吻合,互换性能好。
开度指示装置:通常配备有开度指示机构,可通过指针、刻度盘等直观地显示阀门的开启程度,方便操作人员了解阀门的工作状态,实现精准的流量控制。
工作原理
附开度软密封闸阀通过驱动机构带动阀杆做轴向直线运动,进而控制闸板在阀体内上下移动。当闸板下降至最低点时,其表面的软质密封层与阀体底部的阀座密封面紧密贴合,阻断流体流通;当闸板上升时,闸板与阀座的软质密封面逐渐分离,形成环形流通间隙,流体从阀门入口端进入,通过间隙流向出口端,闸板上升至最高点时,流通间隙达到最大,流阻降至最低。
